- 索 引 号 : 082827274/2025-00089
- 公文种类:
- 发布机构: 四川省交通运输厅
- 成文日期: 2025-08-04
- 发布日期: 2025-09-24
- 文 号: 川交函〔2025〕411号
- 有 效 性 : 有效
四川省交通运输厅关于印发
《四川省普通公路服务区建设运营指南》的通知
各市(州)交通运输局,厅公路局、厅机关有关处室:
《四川省普通公路服务区建设运营指南》已经2025年第10次厅务会议审议通过,现印发给你们,请参照执行。
四川省交通运输厅
2025年8月4日
四川省普通公路服务区建设运营指南
Construction and Operation Guidelines for General Highway Service Areas in Sichuan Province
四川省交通运输厅发布
四川省普通公路服务区建设运营指南
《四川省普通公路服务区建设运营指南》编制组
2025年7月 成都
前言
本指南根据四川省交通运输厅《四川省普通公路服务区建设运营指导意见》的要求,指南编制组经广泛调查研究,认真总结四川省普通公路服务区建设经验,参考国家和行业有关标准及省内外先进实践经验,并在广泛征求意见的基础上,制定本指南。
本指南共分3章,主要技术内容包括:总则、建设指南、运营指南。
本指南由四川省交通运输厅负责管理,四川省公路规划勘察设计研究院有限公司负责具体技术内容的解释。执行过程中如有意见或建议,请寄送至四川省公路规划勘察设计研究院有限公司(地址:武侯祠横街1号,邮编:610000,电话:028-85527410)。
主编单位: 四川省交通运输厅公路局
四川省公路规划勘察设计研究院有限公司
主要起草人:屈洪斌、蒋军、廖 慧、孔迪、赵海东、莫 飞、黄思樵、黄银银、孙博文、张云成、王海涛、张雅丹、李青清、赵 鑫、马洁瑾、陈 力、蒙 飞、陈 勇、赖 波、陈立栋、刘尧辉
主要审查人:牟力、蔡乐军、廖壮志、邓智勇、廖壮志、丁春、蒲涛
目次
前言………………………………………………………………………………0
1总则……………………………………………………………………………2
2建设指南………………………………………………………………………3
2.1基本规定…………………………………………………………………3
2.2总体设计…………………………………………………………………6
2.3 室外设施…………………………………………………………………8
2.4室内设施…………………………………………………………………11
2.5视觉设计…………………………………………………………………13
2.6 附属设施………………………………………………………………18
2.7验收要求…………………………………………………………………19
3 运营指南……………………………………………………………………21
3.1基本规定…………………………………………………………………21
3.2环境卫生管理……………………………………………………………22
3.3 日常运维管理……………………………………………………………23
3.4人车服务管理……………………………………………………………24
3.5 安全应急管理………………………………………………………………25
3.6 监督管理……………………………………………………………………25
附件1 服务区用地主线线形指标最小值…………………………………………29
附件2主题服务区建筑风貌参考图………………………………………………30
1总则
1.0.1 根据《四川省普通公路服务区建设运营指导意见》(以下简称“《指导意见》”),为进一步规范四川省普通公路服务区建设运营工作,加强技术指引、提升服务品质、保障安全运行、促进我省普通公路服务区可持续发展,制定本指南。
1.0.2 本指南适用于指导纳入部、省补助计划或任务的四川省普通公路服务区的建设与运营,其他项目可参照本指南实施。
1.0.3 本指南作为《指导意见》的配套技术支撑,按照“规划引领、完善功能、标准建设、品质服务”的原则进行编制。
1 规划引领:服务区建设运营需满足国土空间规划、路网、交通等规划要求,结合沿线既有设施等现状,做好前期布局策划,并符合国家、行业、省对房屋建筑、公路工程、生态环保、能源、通信、消防等专业的相关规范标准。
2 完善功能:以需求为导向,分类设置主题服务区和一般服务区,一般服务区保证基础功能完备,主题服务区鼓励结合区域资源禀赋,合理利用既有资源,拓展服务功能。
3 标准建设:确定服务区建设标准,确保服务区设施布局合理、功能分区明确,地域文化特色突出,视觉标识系统统一,培树公路服务品牌。
4 品质服务:明确服务区运营单位工作职责和服务内容,明晰服务质量标准,完善监督评价标准体系,强化安全应急措施,全面提升服务水平。
2建设指南
2.1基本规定
2.1.1 统筹路网功能定位、中心城镇规划,结合区域经济发展和产业资源分布情况,系统布局普通公路服务区,做好建设运营整体策划,明确服务对象及功能定位,准确划分服务区类型,积极采用绿色低碳建造技术。
2.1.2 服务区类型划分为一般服务区和主题服务区:
1 一般服务区:提供基本服务,包括停车、如厕、休息、热水、充(换)电等,可结合实际增设餐饮、购物等功能。
2 主题服务区:在保障基本服务功能基础上,挖潜增效,突出主题,有效衔接文化旅游、物流仓储、特色农业、商业娱乐、低空经济等产业,推动“交通+”融合发展。
2.1.3 服务区功能设施配置应符合表2.1.3规定。
表2.1.3服务区功能及设施配置表
|
功能配置 |
设施配置 |
主题服务区 |
一般服务区 |
|
|
车辆服务 |
车辆停放 |
停车场 |
● |
● |
|
能源补给 |
充电桩 |
● |
||
|
换电站 |
○ |
○ |
||
|
加油站 |
|
|||
|
加气站 |
○ |
|
||
|
加氢站 |
○ |
|
||
|
车辆加水 |
加水设施 |
● |
● |
|
|
车辆维修 |
维修间 |
○ |
|
|
|
人员服务 |
如厕 |
男、女卫生间 |
● |
● |
|
无障碍卫生间(无障碍厕位) |
● |
● |
||
|
第三卫生间 |
● |
○ |
||
|
厕位显示系统 |
○ |
○ |
||
|
休息 |
室外休息设施 |
● |
● |
|
|
室内休息设施 |
● |
● |
||
|
公共服务 |
开水间 |
● |
● |
|
|
母婴室 |
○ |
○ |
||
|
司机之家 |
○ |
○ |
||
|
信息查询 |
路网图 |
● |
● |
|
|
智慧查询 |
○ |
○ |
||
|
县(市、区)全域全景图 |
● |
○ |
||
|
餐饮 |
餐饮摊点 |
○ |
○ |
|
|
餐厅 |
● |
|
||
|
品牌(连锁)餐饮 |
○ |
|
||
|
购物 |
零售摊点 |
○ |
○ |
|
|
超市 |
● |
|
||
|
拓展服务 |
文化旅游 |
文旅信息咨询及文化展示体验 |
○ |
|
|
文创专卖 |
○ |
|
||
|
观景平台及打卡点 |
○ |
|
||
|
房车及自驾营地 |
○ |
|
||
|
旅游换乘 |
○ |
|
||
|
景区票务 |
○ |
|
||
|
车辆租赁 |
○ |
|
||
|
物流仓储 |
物流基地 |
○ |
|
|
|
物流中转站 |
○ |
|
||
|
特色农业 |
农产品展销基地 |
○ |
|
|
|
农产品采摘园 |
○ |
|
||
|
商业娱乐 |
商业综合体 |
○ |
|
|
|
展览馆、会展中心 |
○ |
|
||
|
低空经济 |
低空物流中转站 |
|
||
|
低空航线 |
○ |
|
||
|
交通运输 |
道路客运停靠点 |
○ |
|
|
注:1 功能设施分为必设功能和可设功能:●为必设功能;○为可设功能。
2 休息设施应考虑人员休息的需要,室外休息设施适当布置景观小品,室内休息设施应结合室内公共空间,设置免费座椅等设施。
3 餐饮摊点包括分散式的餐饮售卖窗口、铺面等,零售摊点包括小卖部、零售铺面、零售柜台等。
4 除上述功能配置外,还可根据需要增加其他拓展功能。
1 服务区应根据路段交通特征、沿线城镇分布及出行者需求合理布设,确保服务节点(服务区、停车区、加油站、养护站等)的覆盖连续性,避免出现服务空白过长路段。特殊路段可根据当地需求进行调整。
2 服务区宜设置在普通公路周边、视野开阔、道路线性平直的路段,服务区进出口范围内的主线线形应符合《公路路线设计规范》13.3.2相关规定(详附件1)。
3 服务区场地应与普通公路联系紧密,流向合理,出入方便,场地平整,避免设置于下坡凹地。与隧道出入口、干线交叉口的距离应符合《公路路线设计规范》。
4 服务区场地应避开自然灾害易发地段,并充分考虑场区所在区域的气候,尤其是在高原高寒地段,应选择冻土层较浅、朝向适宜的地带。
5 服务区场地宜设置在具有水源、电源、通信、消防、疏散及排污等基础条件的地点。饮用水应符合《生活饮用水卫生标准》。
2.1.5 服务区用地规模和建筑规模应结合实际情况确定,其中用地规模取值应符合《公路工程项目建设用地指标》中普通公路服务区的用地指标要求。服务区建筑规模建议值详见表2.1.5。
表2.1.5 服务区建筑规模建议值
|
服务区等级 |
建筑规模建议值(㎡) |
|
主题服务区 |
1100 |
|
一般服务区 |
300 |
2.2总体设计
1 合理利用地形、布局紧凑、节约用地,条件允许情况下,充分考虑后期拓展需要,服务区场区内主要包含服务区综合楼、附属用房、停车场、室外休息区等功能区。
2 服务区综合楼等主要建筑物尽量远离公路主线。公共卫生间应靠近停车场设置。综合楼与停车位之间保证至少6米的安全距离。
3 总平面布局应遵循功能分区明确、流线通达顺畅的原则。在交通组织上,避免车流和人流交叉。尽可能多设置硬化场地,保证停车位数量及货车停放方便。辅助设备用房如配电房、水泵房等应尽量紧凑布局。具有交通行业管理功能的服务区,公共服务功能和行业管理功能应适度分离。
4 服务区总平面应根据地形地貌布局。总平面布局建议方案示意图如图2.2.1所示。

a) 一般服务区用地布局
b)主题服务区用地布局
c)主题服务区(含拓展功能区)用地布局
图2.2.1 总平面布局方案示意
2.2.2 宜将餐饮、购物、休息、路网咨询等功能统一设置于综合楼内。
2.2.3 服务区出入口宜结合场区内车辆流线分开设置,出入口之间保持一定的安全距离,不少于15米。场地条件受限时,可将出入口设置在同一位置,但应有隔离措施和指示标志。
2.2.4 服务区出入口应交通便利,且应设置必要的缓冲段再进入服务区。出入口行车道转弯半径应满足车辆行驶要求。
2.2.5 服务区应设置交通导向标志,避免不同车型行车路线干扰冲突,不应出现停车车流、加油车流及维修车流交叉。
2.3 室外设施
1 服务区各类型停车位数量不宜少于表2.3.1-1要求。
表2.3.1-1 停车位设置要求
|
车位类型 |
主题服务区 |
一般服务区 |
|
小客车(含充电桩、无障碍车位) |
40 |
20 |
|
大客车 |
10 |
5 |
|
大货车 |
10 |
5 |
|
超长车 |
3 |
2 |
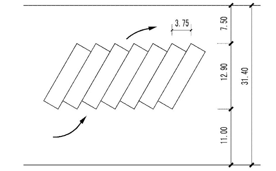
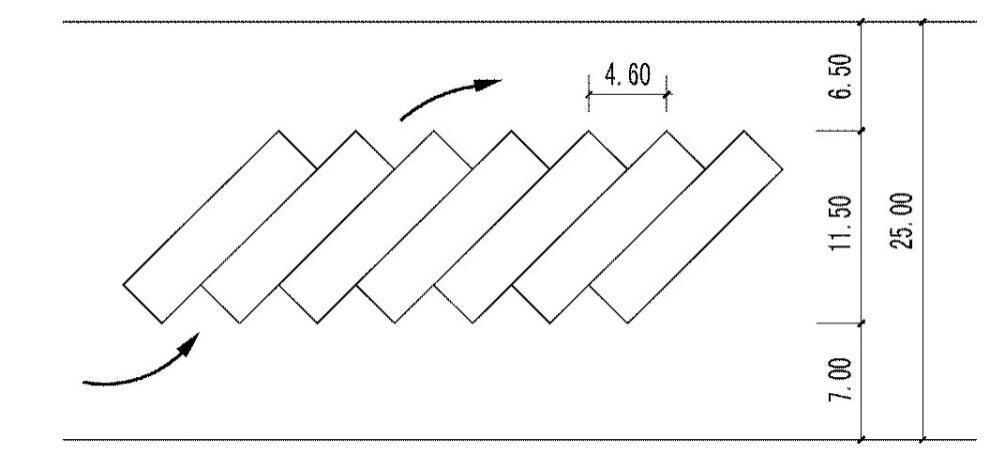
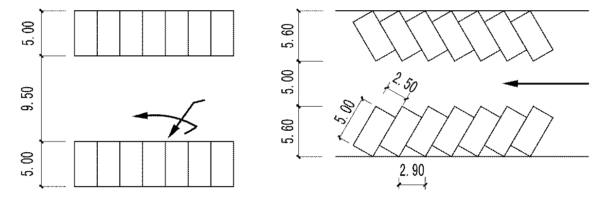
2 小客车停车场的停车方式宜采用垂直式或60°斜放式停车。大客车停车场的停车方式宜采用60°斜放式停车。大货车停车场的停车方式宜采用45°斜放式停车。超长车停车场的停车方式宜采用平行式停车。
a)小客车90°前进停车 b)小客车60°前进停车
c)60°大客车前进式停车方式
d)45°大货车前进式停车方式
e)超长车平行式停车方式
图2.3.1-2停车场停车方式示意图
3 各类车型具体的车位尺寸详见下表
表2.3.1-3车位尺寸列表
|
车种 |
停 车 角 |
停车方式 |
车 道 宽 (m) |
与车道相垂直方向的停车长度(m) |
与车道相平行方向的停车宽度(m) |
单位停车宽度(m) |
每辆停放车所需面积 (㎡) |
|
小客车 |
90° |
前进停车 |
9.50 |
5.00 |
2.50 |
19.5 |
24.4 |
|
60° |
前进停车 |
5.00 |
5.60 |
2.90 |
16.2 |
23.5 |
|
|
大客车 |
60° |
前进停车 |
11.0 |
12.9 |
3.75 |
22.15 |
82.1 |
|
前进停车 |
7.5 |
||||||
|
大货车 |
45° |
前进停车 |
7.0 |
11.5 |
4.6 |
18.25 |
84.0 |
|
前进停车 |
6.5 |
||||||
|
超长车 |
平行 |
前进停车 |
6.0 |
3.5 |
25 |
6.5 |
162.5 |
4 各类车型的最小转弯半径详见表2.3.1-4
表2.3.1-4各类车型的最小转弯半径
|
车型 |
最小转弯半径(m) |
|
小客车 |
6.00 |
|
大客车 |
8.00~10.00 |
|
大货车 |
10.50~12.50 |
|
超长车 |
18.00~20.00 |
5 充电桩停车位数量不少于总车位数的10%,且不少于2个。新建服务区充电桩单枪输出功率不小于60千瓦。
6 服务区应在靠近综合楼及公共卫生间主入口的位置设置无障碍停车位,主题服务区不应少于2个,一般服务区不应少于1个。
图2.3.1-6无障碍车位示意图
7 停车场的进、出通道,单车道净宽不应小于4米,双车道净宽不应小于6米。确因地形高差通道设置为坡道时,单车道不应小于5米,双车道不应小于7米。当车辆穿过建筑物时,通道的净高和净宽应大于5米。
8 停放车辆的场地纵向坡度应小于2%,横向坡度应小于3%。
9 若服务区设置危化品停车位,应按照国家、行业相关标准规范执行,确保服务区安全。
1 加油站位置应靠近服务区出口,并与服务区其他建筑保持安全距离,独立成区,且不影响服务区停车场使用及车辆流线;加油站设计及建设应符合《汽车加油加气站设计与施工规范》。
2 室外休息区应设置在靠近综合楼的位置,可结合绿化或广场设置;室外休息区应配置遮阳伞、防雨棚、桌椅等设施,宜配置健身休闲等设施。
3 汽车修理、洗车加水等车辆服务功能,应设置在场区边缘位置,不影响停车场使用及车辆流线。
4 服务区应设置管理用房。场区内及综合楼应设置信息化管理系统,并与服务区同步建成。管理用房应具有全天监控、车流量统计等功能,并应按相关要求接入部、省相关信息平台。停车场、公共卫生间出入口处等车辆、人员集中区域应设置监控设备。
2.4室内设施
1 公共卫生间可独立设置,也可置于服务区综合楼内。主题服务区公共卫生间参照《旅游厕所质量等级的划分与评定》GB/T 18973-2016。
2 服务区公共卫生间应设置男、女卫生间、无障碍卫生间、洗手区等,宜设置工具间、管理间。主题服务区还应设第三卫生间。
3 服务区公共卫生间女厕位和男厕位比例不宜低于2:1,厕位数建议值参照表2.4.1。如服务区结合既有管养建筑设置,可根据实际情况适当调整厕位数量。在服务区功能布局时,鼓励建设男女通用的潮汐卫生间。
表2.4.1 服务区公共卫生间厕位数建议值
|
厕位类型 |
主题服务区 |
一般服务区 |
|
男小便器 |
10 |
5 |
|
男大便器 |
5 |
3 |
|
女大便器 |
30 |
16 |
4 第三卫生间应按照《四川省第三卫生间设计标准》,设置成人坐便器、成人洗手盆、儿童坐便器、儿童洗手盆、多功能台、儿童安全座椅、安全抓杆、呼叫器等设施,宜布置无障碍小便器、梳妆镜、挂衣钩、烘手器、取纸器等设施。
5 寒冷及严寒地区服务区的公共卫生间(参照《公共建筑节能设计标准》的建筑热工设计分区),可采用加厚墙体保温层、电采暖、太阳能采暖等方式,做好保温防冻措施。管道设施也应采取保温措施。
6 具备上下水条件的服务区,鼓励建设太阳能保温厕所,厕所建筑外墙应设置保温层,并把向阳面做成集热墙。集热墙上下部应分别设置可调式通风口,使集热墙内的热空气与室内的冷空气形成自动循环,提高厕所保温效果。
7 不具备上下水条件的服务区,鼓励采用环保厕所,可根据当地环境情况、经济能力等选择适宜的环保厕所。
注:环保厕所按收集系统分为:真空负压型、泡沫封堵型、免水打包型(即机械打包)、气水冲型4种类型;按处理系统分为:微生物降解型、市政管网直排型、化粪池处理型3种类型。
1 主题服务区应设置集中式餐厅,集中式餐厅应包含厨房及必要库房。一般服务区宜设置餐饮摊点,餐饮摊点宜靠近公共卫生间和休息区等人流集中区域。
2 主题服务区鼓励设置当地特色美食、咖啡茶座等休闲餐饮空间。就餐空间装饰风格宜体现地域文化特色。
1 主题服务区应设置超市。一般服务区宜设置零售摊点。
2 服务区购物设施应合理设置客流动线,便于顾客购物,避免拥堵。
3 服务区宜设置特产销售柜台,售卖地方特产,如农副产品、文旅产品等。
1 室内休息设施应设置休息座椅,可结合室内公共空间设置休息区,也可设置为独立的休息室。
2 母婴室至少应设置马桶、洗手台、沙发、婴儿床、尿布台。
3 开水间应设置在明显且方便到达的位置。
4 司机之家应设置洗衣、淋浴、洗漱、党群服务中心等功能。
5 路网查询功能可通过展示路网图、设置人工咨询点或智能查询设施等方式实现。路网图可采用墙面贴涂、橱窗展示、电子屏显示等形式;人工咨询点可采用咨询柜台或咨询室等形式;智能查询设施可采用电子触摸屏、手机扫码小程序、查询机器人等形式。
6 综合楼应按照《公共场所卫生管理条例(2019年修订)》、《自动体外除颤器(AED)配置指南(试行)(2023年)》等相关要求,设置紧急医疗救援设备如急救箱、自动体外除颤器等。
7 服务区若设置酒店应满足消防、安全、环保等方面要求。
8 服务区内无障碍设施,如无障碍坡道、无障碍楼梯、无障碍电梯、无障碍卫生间、无障碍就餐位和轮椅结算通道等,应按照《建筑与市政工程无障碍设计通用规范》《无障碍设计规范》执行。
9 各项室内设施应有明确的标志和指示牌。
2.5视觉设计
1 服务区视觉设计包括建筑风貌和标识系统两方面。
2 视觉设计的基本要素包含LOGO标志、色彩、字体。主要适用于服务区出入口处、停车场、建筑外立面等。
3 普通公路服务区LOGO(主题服务区——川路荟,一般服务区——川路驿)
注:LOGO字体:阿里巴巴普惠体;色彩参照“四川交旅融合品牌LOGO”
1 一般服务区建筑宜采用现代风格,建筑形态尽量简洁,宜采用平屋顶,可参照图2.5.2-1。
图2.5.2-1 一般服务区建筑风貌示意图
2 主题服务区的建筑风格应根据所在地区的文化特色、周边环境等因素特色化打造。相关案例可参考附件2。
1 一般规定
1) 标识系统应统筹功能布局,在服务区出入口、停车场、公共卫生间、综合服务楼等区域合理设置,指示明确。
2) 标识系统分为三级:一级标识系统为服务区到位标识;二级标识系统为服务区名称标牌;三级标识系统为具体功能标识,包括车位指示牌、场区指路牌、功能标识牌、宣传栏等。
3) 标识系统的结构设置应安全,材质坚固、耐久、美观,其结构、材料、规格应符合相关标准要求。
2 一级标识系统
1) 服务区入口处应设置到位标识牌。
2) 服务区到位标识牌内容包含LOGO标志、公路编号、服务区点位名称、服务区类型。

3) 导视牌色彩
中桔色(C0 M50 Y90 K0):用于标识牌底色。
深桔色(C0 M70 Y90 K0):用于标识牌底色、装饰线条。
浅桔色(C0 M30 Y80 K0):用于标识牌装饰线条。
米色(C0 M6 Y13 K2):用于各类标识牌底色。
3 二级标识系统
1) 综合楼外立面易识别的位置或其附近地面上,应设置服务区名称招牌。
2) 服务区名称招牌包含LOGO标志、服务区点位名称。
4 三级标识系统
1) 停车场应有车流指引标识牌及客车位、货车位、小车位、充电桩车位等各类车位指示牌。

2) 服务区综合楼入口处应设置内部功能标识牌。公共卫生间、开水间、路网服务、餐饮、购物等主要服务场所应设置明显的标识牌。

3) 停车场应施划车流引导标线、停车位标线,并符合国家、行业相关规定。
4) 服务区宣传栏的设置应醒目且不影响车行人行安全,其结构、构造应设置安全并符合相应现行国家和行业标准的相关规定。宣传栏宜结合停车位、综合楼连廊空间等人流经常通过和停留的空间设置,不宜设置于专门宣传区域。主题服务区应设置所在县(市)的全域全景图。
2.6 附属设施
2.6.1 服务区内各类污水、废水经汇集后,宜优先排入就近的城镇污水管网;否则,应设置污水处理设施,将污水处理达标后按环评批复要求排放或转运。
1 在综合楼内部、综合楼周围、室外休息区及停车场应设置分类收集垃圾桶。综合楼内部根据需求合理设置;综合楼周围、室外休息区处垃圾桶间距为50米;停车场处垃圾桶间距为50至100米。合理设置大小型垃圾桶,停车场、公共卫生间外等人群密集区域应至少设置一处大型垃圾桶。
2 垃圾收集用房宜设置在服务区隐蔽位置(宜在周边绿化内),其收集量应满足服务区使用要求。垃圾收集点宜采用密闭方式。
2.7验收要求
服务区建成后应按照服务区功能配置验收表2.7-1和2.7-2及时验收。
表2.7-1 主题服务区功能配置验收表
|
指标要求 |
是/否 |
||||
|
面积 |
用地面积 |
20亩 |
是□ 否□ |
||
|
建筑面积 |
1100㎡ |
是□ 否□ |
|||
|
停车位 |
小客车(含充电桩、无障碍车位) |
40 |
是□ 否□ |
||
|
大客车 |
10 |
是□ 否□ |
|||
|
大货车 |
10 |
是□ 否□ |
|||
|
超长车 |
3 |
是□ 否□ |
|||
|
厕位 |
男大便器 |
10 |
是□ 否□ |
||
|
男小便器 |
5 |
是□ 否□ |
|||
|
女大便器 |
30 |
是□ 否□ |
|||
|
基本功能 |
应设配置 |
是/否 |
|||
|
1 |
车辆服务 |
车辆停放 |
停车场 |
是□ 否□ |
|
|
2 |
能源补给 |
充电桩 |
是□ 否□ |
||
|
3 |
车辆加水 |
加水设施 |
是□ 否□ |
||
|
4 |
人员服务 |
如厕 |
男、女卫生间 |
是□ 否□ |
|
|
5 |
无障碍卫生间(无障碍厕位) |
是□ 否□ |
|||
|
6 |
第三卫生间 |
是□ 否□ |
|||
|
7 |
休息 |
室外休息设施 |
是□ 否□ |
||
|
8 |
室内休息设施 |
是□ 否□ |
|||
|
9 |
公共服务 |
开水间 |
是□ 否□ |
||
|
10 |
司机之家 |
是□ 否□ |
|||
|
11 |
信息查 询 |
路网图 |
是□ 否□ |
||
|
|
县(市、区)全域全景图 |
是□ 否□ |
|||
|
12 |
餐饮 |
餐厅 |
是□ 否□ |
||
|
13 |
餐饮摊点 |
是□ 否□ |
|||
|
14 |
购物 |
超市 |
是□ 否□ |
||
|
15 |
零售摊点 |
是□ 否□ |
|||
|
可设功能 |
是/否 |
||||
|
16 |
拓展服务 |
文化旅游 |
文旅信息咨询及文化展示体验 |
是□ 否□ |
|
|
17 |
文创专卖 |
是□ 否□ |
|||
|
18 |
观景平台及打卡点 |
是□ 否□ |
|||
|
19 |
房车及自驾营地 |
是□ 否□ |
|||
|
20 |
旅游换乘 |
是□ 否□ |
|||
|
21 |
景区票务 |
是□ 否□ |
|||
|
22 |
车辆租赁 |
是□ 否□ |
|||
|
23 |
物流仓储 |
农产品物流基地 |
是□ 否□ |
||
|
24 |
物流中转站 |
是□ 否□ |
|||
|
25 |
特色农业 |
农产品展销基地 |
是□ 否□ |
||
|
26 |
农产品采摘园 |
是□ 否□ |
|||
|
27 |
商业娱乐 |
商业综合体 |
是□ 否□ |
||
|
28 |
展览馆、会展中心 |
是□ 否□ |
|||
|
29 |
低空经济 |
无人机物流中转站 |
是□ 否□ |
||
|
30 |
景区低空航线 |
是□ 否□ |
|||
|
31 |
交通运输 |
道路客运停靠点 |
是□ 否□ |
||
注:主题服务区应设功能应全部满足,拓展功能应至少选设一项。
表2.7-2 一般服务区功能配置验收表
|
经济技术指标 |
指标要求 |
是/否 |
||||
|
面积 |
用地面积 |
10亩 |
是□ 否□ |
|||
|
建筑面积 |
300㎡ |
是□ 否□ |
||||
|
停车位 |
小客车(含充电桩、无障碍车位) |
20 |
是□ 否□ |
|||
|
大客车 |
5 |
是□ 否□ |
||||
|
大货车 |
5 |
是□ 否□ |
||||
|
超长车 |
2 |
是□ 否□ |
||||
|
厕位 |
男大便器 |
5 |
是□ 否□ |
|||
|
男小便器 |
3 |
是□ 否□ |
||||
|
女大便器 |
16 |
是□ 否□ |
||||
|
基本功能 |
应设配置 |
是/否 |
||||
|
序号 |
1 |
车辆服务 |
车辆停放 |
停车场 |
是□ 否□ |
|
|
2 |
能源补给 |
充电桩 |
是□ 否□ |
|||
|
3 |
车辆加水 |
加水设施 |
是□ 否□ |
|||
|
4 |
人员服务 |
如厕 |
男、女卫生间 |
是□ 否□ |
||
|
5 |
无障碍卫生间(无障碍厕位) |
是□ 否□ |
||||
|
7 |
休息 |
室外休息设施 |
是□ 否□ |
|||
|
8 |
室内休息设施 |
是□ 否□ |
||||
|
9 |
公共服务 |
开水间 |
是□ 否□ |
|||
|
11 |
信息查询 |
路网图 |
是□ 否□ |
|||
3 运营指南
3.1基本规定
3.1.1 服务区运营单位(以下简称“运营单位”)作为服务区运营管理的责任主体,应合理配备管理团队,分级落实环境卫生、日常运维、人车服务、安全应急等管理责任,按照本指南及国家相关法律法规,根据服务区特点,建立运营管理制度,保证服务区有序运营。
3.1.2 各市(州)交通运输主管部门负责指导监督辖区内普通公路服务区运营。
3.1.3 运营单位的人员配置标准应根据服务区规模、车流量和服务需求确定,主要包含管理人员、保洁人员、安保人员、餐饮服务人员、维修人员、客服人员及其他人员(如加油站人员)等;同时应组织岗前培训,提升人员素质。
3.1.4 运营单位应配合协助公安、交警、应急、消防等部门做好治安及消防安全工作。
3.1.5 鼓励运营单位引入和应用智慧化管理平台和技术,通过智能化手段提高服务区的管理效率和服务质量。
3.2环境卫生管理
服务区应加强环境卫生管理,确保清洁、舒适的卫生环境。以下是环境卫生管理的主要内容:
3.2.1 停车场卫生管理要求
1 广场:保持场地清洁,及时清洗场地污渍及油渍;
2 各类指示牌:定期擦洗,做到无污迹和灰尘,保持位置正确和整体整齐。
3.2.2 公共卫生间卫生管理要求
应确保室内墙、顶、地面、门窗、器具干净无味、无蛛网。具体区域卫生管理还应符合:
1 洗手间:不间断专人保洁,定期清洁,确保各卫生洁具干净,光洁;
2 各类指示牌:定期擦洗,做到无污迹和灰尘,保持位置正确整齐;
3 垃圾筒:及时清理垃圾,保持筒体清洁、无污迹,筒内垃圾无外溢。
4 设置旱厕及环保厕所的服务区,应制定冬季厕所的卫生间管理制度;旱厕应及时清理粪便,环保厕所应及时补充相关物料;定期检查环保设施,确保设备正常运行,司乘人员如厕安全。
3.2.3 其他空间卫生管理要求
1 餐厅:桌面台面保持整洁、无污物杂物。
2 厨房间:无污物杂物,生熟分离,餐具按规定要求摆放,垃圾及时清理,做到明厨亮灶。
3 维修间作业结束后要及时清除场地油污杂物,并将设备机具整齐安放在指定位置,保持施工场地整齐清洁。
3.2.4 环水保管理要求
1 垃圾分类处理。可回收垃圾定期收集并送至指定的回收站;有害垃圾,如废电池、废荧光灯管等,应设置专门的收集容器,并委托专业机构进行安全处置。
2 污水处理设施应定期维护,确保正常运行;加强巡查,及时发现问题并整改。
3 鼓励采用绿色低碳技术,如太阳能照明、雨水收集、自动调节能耗系统等。同时,加强员工的环保意识培训,确保在日常运维中积极践行绿色低碳理念,共同维护服务区环境质量。
3.3 日常运维管理
3.3.1 停车区日常运维管理要求
1 应及时检查维护场区标志标线等设施,确保标志标线醒目清晰、无破损。
2 应制定详细的充电桩安全运营管理制度、明确工作职责,定期检查维护。
3 设置加油站、维修间的服务区,应制定加油站及维修间管理制度,具备相关资质和证照,生产经营符合国家有关规定和行业标准。
3.3.2 其他设施日常运维管理要求
1 服务区严禁超负荷用电。
2 服务区电气设备、开关、线路、配电设施应由持证专业电工定期进行管理和检测。电工作业时严禁违章操作,发现问题及时处理。
3 服务区电器设备安装应经运营单位审核批准后,由专业人员按规程安装。
4 配电房应保持干燥、清洁、通风,严禁烟火。配电房内不得堆放杂物或作为电器维修场所。
5 应定期对强弱电设施设备进行巡查、保养,确保用电设备正常运行,防止事故发生。
3.4人车服务管理
3.4.1 总体要求
1 应制定统一的服务标准,明确各岗位的职责和服务流程,确保服务质量的稳定性和一致性。
2 应提升工作人员服务意识、服务技能和礼仪规范,确保为司乘人员提供热情、周到的服务。
3.4.2 停车场服务要求
应及时巡查停车场,保证车辆安全、有序停放,同时还应负责以下内容:
1 制止辗压绿化草地,损坏路牌和各类标识,以及路面及公用设施等行为。如发现损坏应及时通知相关人员修复。
2 发现有损害服务区、影响服务区安全等违法、违规行为的,应及时取证并制止。
3 重点关注长时间停放的货车,及时掌握司机状况,发现异常,及时处置。
3.4.3 餐饮服务要求
1 服务区餐饮购物空间运营单位可根据自身实际,采取自主经营、合作经营、租赁经营、特许经营等方式,并建立健全经营管理制度。
2 服务区经营管理应按规定办理营业手续,做到证照齐全、时限有效,并在营业场所明显位置悬挂公示。
3 应加强服务区品牌打造。体现当地文化元素(如建筑风格、地方特产、民俗展示),避免“千区一面”。鼓励引入本地知名食品、手工艺品,打造“地方名片”效应。
3.4.4 其他设施服务要求
1 开水间,应保证24小时开水供应,定期检查设施设备,确保正常运行。
2 司机之家应定期打扫,确保干净整洁;应定期进行检查维护,确保设施设备正常使用。
3 无障碍通道及设施应定期检查维护,确保无遮挡无破损,标识完备醒目。
4 服务区应加强宣传工作,设置宣传栏,内容应包含党和国家的政策方针、服务区及所在公路简介、交通安全知识、特色地方文化及旅游等资源、公路交通行业历史发展等。
3.5 安全应急管理
3.5.1 运营单位应设立安全管理部门,制定安全管理制度,明确安全责任,规范安全管理工作。
3.5.2 针对自然灾害、事故灾难、疾病疫情、公共卫生事件、社会安全事件等突发事件制定应急预案;制定重大节假日应急预案;制定应急演练预案,联合开展演练,确保发生事故能迅速响应。
3.5.3 建立健全抢险救灾、交通战备等特殊事件的协作联动机制,加强应急物资储备管理。
3.5.4 定期进行安全培训,提高安全责任意识和应急处突能力。
3.5.5 定期开展安全检查,及时发现隐患并整改。
3.5.6 合理布设24小时监控设备,确保监控无死角。监控影像资料应按照相关要求保留;按照国家应急广播相关要求,在停车场、综合楼、加油站等人流密集区域布设应急广播,并确保 24小时正常播放。
3.5.7 确保监控设施正常运行及数据传输稳定,做好定期检查,发现问题及时处理。
3.5.8 结合服务区实际情况,在重大节假日按照应急预案增派人员,增加巡查频率,做好预警提示、后勤保障、交通疏导等工作,确保区内安全通畅。
3.5.9 加强治安巡逻,做好与公安等部门的联勤联动,及时处置突发情况。
3.6 监督管理
3.6.1 应制定顾客投诉受理工作制度,公式监督电话,做到渠道畅通、处置迅速、反馈及时。
3.6.2 准确记录投诉事由、诉求等信息,留存投诉人相关信息,对有效投诉做到有件必复,及时反馈情况和整改意见。
3.6.3 为提升服务区服务质量和管理水平,确保设施完善、功能齐全、增强公众满意度,按照表3.6对服务区进行服务质量绩效监督,监督内容包含公共卫生间、公共场所、餐饮及便利店、拓展服务等。
表3.6 服务区运营管理绩效监督内容
|
评分内容 |
运营管理标准 |
是 |
否 |
|
|
公共卫生间 |
基础设施 |
有完好可使用的无障碍专用卫生间 |
|
|
|
有完好可使用的第三卫生间 |
|
|
||
|
各类洁具、水龙头、灯具等设备完好,无缺失破损现象 |
|
|
||
|
墙面、地面、顶棚、门窗无缺失、破损现象 |
|
|
||
|
设置有文明用厕宣传标识 |
|
|
||
|
冬季可提供热水服务 |
|
|
||
|
24小时免费开放 |
|
|
||
|
环境卫生 |
空气清新无严重异味 |
|
|
|
|
地面、墙面、天棚、门窗等清洁,无垃圾、积水、污渍杂物等 |
|
|
||
|
各类设施设备干净整洁 |
|
|
||
|
垃圾纸篓统一套袋,纸篓内垃圾不超过80% |
|
|
||
|
24小时免费开放 |
|
|
||
|
公共场所 |
基础设施 |
交通标识标线齐全清晰 |
|
|
|
照明设施齐全完好,停车区域夜间照明良好,无盲点 |
|
|
||
|
监控设施设备完好,监控范围无盲点,图像清晰完整,实现服务区全覆盖 |
|
|
||
|
地面无明显坑槽病害 |
|
|
||
|
利用有效空间宣传交通政策法规,倡导文明驾驶、安全出行 |
|
|
||
|
环境卫生 |
地面,绿化区域干净,无垃圾杂物 |
|
|
|
|
垃圾箱布置均匀,外观整洁,箱内垃圾不超过80% |
|
|
||
|
各类标识标牌规范、整洁、无破损 |
|
|
||
|
污水排放达标 |
|
|
||
|
生活垃圾集中无害化处理 |
|
|
||
|
积极推广应用各类节能、环保和循环利用技术 |
|
|
||
|
安全管理 |
消防器材完好可用 |
|
|
|
|
安保人员24小时值守,制定并执行巡查制度、巡查记录完整可查 |
|
|
||
|
加油站、加气站设有防火墙、安全岛、护栏杆等,且符合消防标准,消防设施齐全 |
|
|
||
|
加油(气)站、充电桩符合相关安全要求 |
|
|
||
|
文明服务 |
无障碍设施完好可用 |
|
|
|
|
提供剩余停车位接待容量信息 |
|
|
||
|
24小时提供免费开水 |
|
|
||
|
餐饮及便利店 |
环境卫生 |
餐厅餐桌座椅完好,无明显破损残缺 |
|
|
|
空气清新无异味、无蚊蝇 |
|
|
||
|
地面、墙面、天棚、门窗等清洁,无垃圾、积水、污渍杂物等 |
|
|
||
|
文明服务 |
证照齐全、经营许可证等证照明显位置公开悬挂 |
|
|
|
|
明码标价,公平交易 |
|
|
||
|
安全管理 |
消防器材完好可用 |
|
|
|
|
食材进货渠道符合餐饮业相关法规,实行索证和台账管理制度,无假冒伪劣产品 |
|
|
||
|
食品生产经营从业人员定期检查并获取健康检查合格证明,健康合格证在餐厅明显位置公式 |
|
|
||
|
餐具按照规定消毒,后厨案板、储存按照相关规定管理执行 |
|
|
||
|
未出现食品安全事故或严重投诉 |
|
|
||
|
各种商品质量合格,无发霉、污染、变质、过期等现象 |
|
|
||
|
拓展服务 |
主题服务区主题鲜明,特色突出 |
|
|
|
|
主题服务区主题与周边地方特色相契合 |
|
|
||
|
室内室外有相应区域体现服务区主题 |
|
|
||
|
注:主题服务区监督内容应包括公共卫生间、公共场所、餐饮及便利店、拓展服务四个方面;一般服务区监督内容应至少包括公共卫生间、公共场所两个方面,当设置餐饮及便利店时,也应加强监督。 |
||||
附件1 服务区用地主线线形指标最小值
|
主线设计速度(km/h) |
100 |
80 |
60 |
|
|
平曲线半径(m) |
一般值 |
1500 |
1100 |
500 |
|
极限值 |
1000 |
700 |
350 |
|
|
凸形竖曲线半径(m) |
一般值 |
25000 |
12000 |
6000 |
|
极限值 |
15000 |
6000 |
3000 |
|
|
凹形竖曲线半径(m) |
一般值 |
12000 |
8000 |
4000 |
|
极限值 |
8000 |
4000 |
2000 |
|
|
纵坡(%) |
一般值 |
2 |
3 |
4.5 |
|
最大值 |
3 |
4 |
5.5 |
|
注:由于地形、地貌、经济、技术等条件限制,在安全性进行论证可行的情况下,可采用表中极限值。
附件2主题服务区建筑风貌参考图
a) 主题服务区建筑风貌示意图(现代风格:甘孜州G318新都桥服务区)
b) 主题服务区建筑风貌示意图(传统风格)
c)主题服务区建筑风貌示意图(藏羌风格:甘孜州G318竹巴龙服务区)